DN1500
Fustar
73072900
圆形非金属补偿器
圆形非金属补偿器是由柔性补偿件、法兰或者接管、保温隔热材料及螺栓拉杆等构成,可以在较小的尺寸范围内提供较大的轴向、角向和侧向位移。特性是无反推力,主体材料为玻璃纤维织物及其涂覆制品,无力的传递。具备优良的耐高温、耐腐蚀和密封性能,采用有机硅、氟等高分子材料涂覆处理,具有优良的耐高温、耐腐蚀和密封性能。压力范围:≤0.05Mpa;温度范围:低温型≤200℃,高温型≤800℃;直径范围:150MM~7000MM。
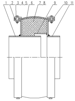
圆形非金属补偿器结构
圆形非金属膨胀节 | 结构图 |
序号 | 名称 | 材质 | 序号 | 名称 | 材质 |
1 | 长接管 | 碳钢 | 7 | 填料 | 碳钢 |
2 | 环板压板 | 碳钢 | 8 | 钢丝网 | SS304 |
3&4 | 螺栓/螺母 | 碳钢 | 9 | 导流筒 | SS304 /碳钢 |
5 | 垫片 | 碳钢 | 10 | 压板 | 碳钢 |
6 | 圈带 | 橡胶复合材料 | 11 | 短接管 | 碳钢 |
圆形非金属补偿器技术参数
低温圆形非金属膨胀节
设计压力P = 0.049Mpa设计温度T = 200℃
通径 | 轴向位移 | 有效面积 | 焊管外径尺寸 | 法兰外径尺寸 | 总长度 | 总宽度 | |
mm | 轴向mm | 横向mm | c㎡ | mm | mm | mm | mm |
500 | 105 | 16 | 4776 | 530 | 650 | 520 | 920 |
550 | 105 | 16 | 5150 | 560 | 680 | 520 | 950 |
600 | 105 | 16 | 6079 | 630 | 750 | 520 | 1020 |
700 | 105 | 16 | 7386 | 720 | 840 | 520 | 1110 |
800 | 105 | 16 | 9654 | 820 | 940 | 520 | 1210 |
900 | 105 | 16 | 10381 | 920 | 1080 | 520 | 1310 |
1000 | 115 | 15 | 12861 | 1020 | 1180 | 550 | 1420 |
* 以上参数供参考,可提供低温圆形非金属膨胀节直径范围DN150到DN7000MM。
高温圆形非金属膨胀节
设计压力P = 0.049Mpa设计温度T = 800℃
通径 | 轴向位移 | 有效面积 | 焊管外径尺寸 | 法兰外径尺寸 | 总长度 | 总宽度 | |
mm | 轴向mm | 横向mm | c㎡ | mm | mm | mm | mm |
500 | 105 | 16 | 7388 | 530 | 650 | 520 | 1140 |
550 | 105 | 16 | 8167 | 560 | 680 | 520 | 1170 |
600 | 105 | 16 | 9326 | 630 | 750 | 520 | 1240 |
700 | 105 | 16 | 10930 | 720 | 840 | 520 | 1330 |
800 | 105 | 16 | 12861 | 820 | 940 | 520 | 1430 |
900 | 105 | 16 | 14949 | 920 | 1080 | 520 | 1530 |
1000 | 115 | 15 | 17427 | 1020 | 1180 | 550 | 1640 |
圆形非金属补偿器结构特点
1.补偿热膨胀,可以在较小的尺寸范围内提供较大的多维方向补偿。
2.由于管道连接中,系统误差在所难免,非金属补偿器可以较好地消除安装误差。
3.纤维织物、保温棉本身具有吸声、隔绝震动传递的功能,能有效地减小锅炉、风机等系统的噪声和震动。
4.由于主体材料为纤维织物,无力的传递,用非金属膨胀节可简化设计。
5.具有良好的耐高温和耐腐蚀性;
6.密封性能好,在各种介质作用下,具有良好的密封性。
7.安装维修方便。
非金属织物结构
非金属部分织物层数是根据用户使用工况条件设计,一般设计成5层或者更多层:
1st ------ 0.15mm 钢丝网
2nd ------1.2mm 硅胶布
3rd ------0.18mm 四氟布
4th------0.9mm 玻璃纤维布
5th------10.0mm 针织毯
6th------高温时,加在内套筒和非金属织物之间的硅酸铝陶瓷纤维布
圆形非金属补偿器的应用
·火力发电厂:(1)汽轮机 (2)锅炉(3)除尘;
·水泥厂;
·钢铁厂,熔炉;
·核电厂;
·通风系统;
·玻璃和煤矿工业;
·石化企业;
·空气和气体清洁设备;
·鼓风机;
·铝和碳工厂。
圆形非金属补偿器
圆形非金属补偿器是由柔性补偿件、法兰或者接管、保温隔热材料及螺栓拉杆等构成,可以在较小的尺寸范围内提供较大的轴向、角向和侧向位移。特性是无反推力,主体材料为玻璃纤维织物及其涂覆制品,无力的传递。具备优良的耐高温、耐腐蚀和密封性能,采用有机硅、氟等高分子材料涂覆处理,具有优良的耐高温、耐腐蚀和密封性能。压力范围:≤0.05Mpa;温度范围:低温型≤200℃,高温型≤800℃;直径范围:150MM~7000MM。
圆形非金属补偿器结构
圆形非金属膨胀节 | 结构图 |
序号 | 名称 | 材质 | 序号 | 名称 | 材质 |
1 | 长接管 | 碳钢 | 7 | 填料 | 碳钢 |
2 | 环板压板 | 碳钢 | 8 | 钢丝网 | SS304 |
3&4 | 螺栓/螺母 | 碳钢 | 9 | 导流筒 | SS304 /碳钢 |
5 | 垫片 | 碳钢 | 10 | 压板 | 碳钢 |
6 | 圈带 | 橡胶复合材料 | 11 | 短接管 | 碳钢 |
圆形非金属补偿器技术参数
低温圆形非金属膨胀节
设计压力P = 0.049Mpa设计温度T = 200℃
通径 | 轴向位移 | 有效面积 | 焊管外径尺寸 | 法兰外径尺寸 | 总长度 | 总宽度 | |
mm | 轴向mm | 横向mm | c㎡ | mm | mm | mm | mm |
500 | 105 | 16 | 4776 | 530 | 650 | 520 | 920 |
550 | 105 | 16 | 5150 | 560 | 680 | 520 | 950 |
600 | 105 | 16 | 6079 | 630 | 750 | 520 | 1020 |
700 | 105 | 16 | 7386 | 720 | 840 | 520 | 1110 |
800 | 105 | 16 | 9654 | 820 | 940 | 520 | 1210 |
900 | 105 | 16 | 10381 | 920 | 1080 | 520 | 1310 |
1000 | 115 | 15 | 12861 | 1020 | 1180 | 550 | 1420 |
* 以上参数供参考,可提供低温圆形非金属膨胀节直径范围DN150到DN7000MM。
高温圆形非金属膨胀节
设计压力P = 0.049Mpa设计温度T = 800℃
通径 | 轴向位移 | 有效面积 | 焊管外径尺寸 | 法兰外径尺寸 | 总长度 | 总宽度 | |
mm | 轴向mm | 横向mm | c㎡ | mm | mm | mm | mm |
500 | 105 | 16 | 7388 | 530 | 650 | 520 | 1140 |
550 | 105 | 16 | 8167 | 560 | 680 | 520 | 1170 |
600 | 105 | 16 | 9326 | 630 | 750 | 520 | 1240 |
700 | 105 | 16 | 10930 | 720 | 840 | 520 | 1330 |
800 | 105 | 16 | 12861 | 820 | 940 | 520 | 1430 |
900 | 105 | 16 | 14949 | 920 | 1080 | 520 | 1530 |
1000 | 115 | 15 | 17427 | 1020 | 1180 | 550 | 1640 |
圆形非金属补偿器结构特点
1.补偿热膨胀,可以在较小的尺寸范围内提供较大的多维方向补偿。
2.由于管道连接中,系统误差在所难免,非金属补偿器可以较好地消除安装误差。
3.纤维织物、保温棉本身具有吸声、隔绝震动传递的功能,能有效地减小锅炉、风机等系统的噪声和震动。
4.由于主体材料为纤维织物,无力的传递,用非金属膨胀节可简化设计。
5.具有良好的耐高温和耐腐蚀性;
6.密封性能好,在各种介质作用下,具有良好的密封性。
7.安装维修方便。
非金属织物结构
非金属部分织物层数是根据用户使用工况条件设计,一般设计成5层或者更多层:
1st ------ 0.15mm 钢丝网
2nd ------1.2mm 硅胶布
3rd ------0.18mm 四氟布
4th------0.9mm 玻璃纤维布
5th------10.0mm 针织毯
6th------高温时,加在内套筒和非金属织物之间的硅酸铝陶瓷纤维布
圆形非金属补偿器的应用
·火力发电厂:(1)汽轮机 (2)锅炉(3)除尘;
·水泥厂;
·钢铁厂,熔炉;
·核电厂;
·通风系统;
·玻璃和煤矿工业;
·石化企业;
·空气和气体清洁设备;
·鼓风机;
·铝和碳工厂。