DN300
Fustar
83071000
直管旁通压力平衡膨胀节
直管旁通压力平衡膨胀节具有吸收内压推力的作用,优越的自动调节平衡性;刚度小,定向好;体积小,经济,安装无方向要求。
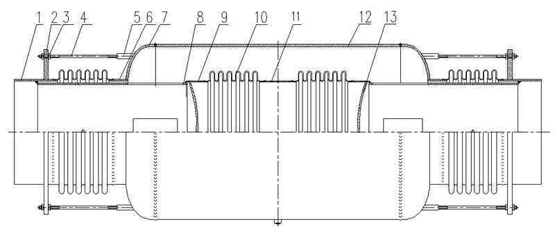
直管压力平衡型膨胀节结构图和名称
直管旁通压力平衡膨胀节 | 图纸 |
序号 | 名称 | 材质 | 序号 | 名称 | 材质 |
1 | 端接管 | 碳钢 | 8 | 内管 | SS304 /碳钢 |
2 | 环板 | 碳钢 | 9 | 短接管 | 碳钢 |
3&4 | 拉杆螺母/拉杆 | 碳钢 | 10 | 波纹管 | SS304 / SS316L / SS321 |
5 | 接头 | 碳钢 | 11 | 中间接管 | 碳钢 |
6 | 过渡管 | 碳钢 | 12 | 外壳 | 碳钢 |
7 | 封头 | 碳钢 | 13 | 弧板 | 碳钢 |
压力平衡膨胀节的作用
1.减少/消除固定成本;
2.平衡系统;
3.降低管道成本;
4.减少连接设备的外部压力。
压力平衡波纹管膨胀节技术参数
通径 | 长度 | 轴向位移 | 轴向刚性 | 连接尺寸 | 径向 尺寸 | 工作 压力 |
mm | mm | mm | N /mm | mm | mm | Mpa |
100 | 1200 | 60 | 780 | Φ108X4 | 260 | 0.25〜2.5 |
150 | 1250 | 80 | 814 | Φ159X4.5 | 380 | 0.25〜2.5 |
200 | 1550 | 100 | 870 | Φ219X6 | 426 | 0.25〜2.5 |
250 | 1750 | 110 | 958 | Φ273X8 | 529 | 0.25〜2.5 |
300 | 1800 | 130 | 1032 | Φ325X8 | 630 | 0.25〜2.5 |
400 | 2050 | 145 | 1410 | Φ426X10 | 720 | 0.25〜2.5 |
500 | 2200 | 155 | 1912 | Φ530X10 | 920 | 0.25〜2.5 |
600 | 3200 | 160 | 1830 | Φ630X10 | 1200 | 0.25〜2.5 |
700 | 3250 | 180 | 1928 | Φ720X12 | 1300 | 0.25〜2.5 |
800 | 3250 | 190 | 2098 | Φ820X12 | 1450 | 0.25〜2.5 |
900 | 3300 | 230 | 2206 | Φ920X12 | 1600 | 0.25〜2.5 |
1000 | 3300 | 230 | 2368 | Φ1020X12 | 1750 | 0.25〜2.5 |
* 以上数据基于压力PN16的常规尺寸,我们可以根据用户的详细要求尺寸和条件进行设计和生产。
直管旁通压力平衡膨胀节
直管旁通压力平衡膨胀节具有吸收内压推力的作用,优越的自动调节平衡性;刚度小,定向好;体积小,经济,安装无方向要求。
直管压力平衡型膨胀节结构图和名称
直管旁通压力平衡膨胀节 | 图纸 |
序号 | 名称 | 材质 | 序号 | 名称 | 材质 |
1 | 端接管 | 碳钢 | 8 | 内管 | SS304 /碳钢 |
2 | 环板 | 碳钢 | 9 | 短接管 | 碳钢 |
3&4 | 拉杆螺母/拉杆 | 碳钢 | 10 | 波纹管 | SS304 / SS316L / SS321 |
5 | 接头 | 碳钢 | 11 | 中间接管 | 碳钢 |
6 | 过渡管 | 碳钢 | 12 | 外壳 | 碳钢 |
7 | 封头 | 碳钢 | 13 | 弧板 | 碳钢 |
压力平衡膨胀节的作用
1.减少/消除固定成本;
2.平衡系统;
3.降低管道成本;
4.减少连接设备的外部压力。
压力平衡波纹管膨胀节技术参数
通径 | 长度 | 轴向位移 | 轴向刚性 | 连接尺寸 | 径向 尺寸 | 工作 压力 |
mm | mm | mm | N /mm | mm | mm | Mpa |
100 | 1200 | 60 | 780 | Φ108X4 | 260 | 0.25〜2.5 |
150 | 1250 | 80 | 814 | Φ159X4.5 | 380 | 0.25〜2.5 |
200 | 1550 | 100 | 870 | Φ219X6 | 426 | 0.25〜2.5 |
250 | 1750 | 110 | 958 | Φ273X8 | 529 | 0.25〜2.5 |
300 | 1800 | 130 | 1032 | Φ325X8 | 630 | 0.25〜2.5 |
400 | 2050 | 145 | 1410 | Φ426X10 | 720 | 0.25〜2.5 |
500 | 2200 | 155 | 1912 | Φ530X10 | 920 | 0.25〜2.5 |
600 | 3200 | 160 | 1830 | Φ630X10 | 1200 | 0.25〜2.5 |
700 | 3250 | 180 | 1928 | Φ720X12 | 1300 | 0.25〜2.5 |
800 | 3250 | 190 | 2098 | Φ820X12 | 1450 | 0.25〜2.5 |
900 | 3300 | 230 | 2206 | Φ920X12 | 1600 | 0.25〜2.5 |
1000 | 3300 | 230 | 2368 | Φ1020X12 | 1750 | 0.25〜2.5 |
* 以上数据基于压力PN16的常规尺寸,我们可以根据用户的详细要求尺寸和条件进行设计和生产。