DN300〜DN8000
Fustar
73072900
矩形非金属补偿器
矩形非金属补偿器是一种柔性部件,由复合非金属材料,连接到相邻管道和绝缘材料的两个管(或法兰)组成。非金属膨胀节主要用于输送粉尘、气体、烟气、煤气及其它气体的管道系统因温度变化、机械振动及基础下沉所引起的位移补偿。压力范围:≤0.05Mpa;温度范围:低温型≤200℃,高温型≤800℃;直径范围:任何尺寸。
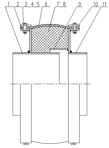
矩形非金属膨胀节结构
矩形非金属补偿器 | 结构图 |
序号 | 名称 | 材质 | 序号 | 名称 | 材质 |
1 | 长接管 | 碳钢 | 7 | 填料 | 碳钢 |
2 | 环板 | 碳钢 | 8 | 钢丝网 | SS304 |
3&4 | 螺栓/螺母 | 碳钢 | 9 | 导流筒 | SS304 /碳钢 |
5 | 垫片 | 碳钢 | 10 | 压板 | 碳钢 |
6 | 圈带 | 橡胶复合材料 | 11 | 短接管 | 碳钢 |
矩形非金属补偿器技术参数
低温矩形非金属膨胀节
设计压力P = 0.049Mpa设计温度T = 200℃
管道截面积 | 补偿量 | 有效面积 | 法兰 | 总长度 | 宽度 | ||
㎡ | 轴向 | 横向 | c㎡ | 法兰高度 | 孔直径 | mm | mm |
0.8< aXb≤2.5 | 40 | 8 | (A + 20)(B + 20) | 100 | 28 | 400 | A + 400 |
80 | 11 | 500 | |||||
120 | 15 | 600 | |||||
2.5< aXb≤4.0 | 40 | 5 | (A + 20)(B + 20) | 100 | 28 | 400 | A + 400 |
80 | 8 | 500 | |||||
120 | 11 | 600 | |||||
4.0< aXb≤6.0 | 40 | 4 | (A + 30)(B + 30) | 100 | 36 | 500 | A + 500 |
80 | 6 | 600 | |||||
120 | 8 | 700 | |||||
6.0< aXb≤9.0 | 40 | 3 | (A + 30)(B + 30) | 100 | 36 | 500 | A + 500 |
80 | 4 | 600 | |||||
120 | 5 | 700 | |||||
低温矩形非金属膨胀节
设计压力P = 0.049Mpa设计温度T = 800℃
管道截面积 | 补偿量 | 有效面积 | 法兰 | 总长度 | 宽度 | ||
㎡ | 轴向 | 横向 | c㎡ | 法兰高度 | 孔直径 | mm | mm |
0.8< aXb≤2.5 | 40 | 8 | (A + 40)(B + 40) | 100 | 28 | 400 | A + 600 |
80 | 10 | 500 | |||||
120 | 12 | 600 | |||||
2.5< aXb≤4.0 | 40 | 5 | (A + 40)(B + 40) | 100 | 28 | 400 | A + 600 |
80 | 8 | 500 | |||||
120 | 10 | 600 | |||||
4.0< aXb≤6.0 | 40 | 4 | (A + 50)(B + 50) | 100 | 36 | 500 | A + 700 |
80 | 6 | 600 | |||||
120 | 8 | 700 | |||||
6.0< aXb≤9.0 | 40 | 3 | (A + 50)(B + 50) | 100 | 36 | 500 | A + 700 |
80 | 4 | 600 | |||||
120 | 5 | 700 | |||||
非金属矩形膨胀节的应用
·燃气轮机排气管道
·脱硫系统
·适用于各种行业的烟风道和排气系统
·燃煤锅炉,循环流化床锅炉以及燃油锅炉的烟风道
矩形非金属补偿器
矩形非金属补偿器是一种柔性部件,由复合非金属材料,连接到相邻管道和绝缘材料的两个管(或法兰)组成。非金属膨胀节主要用于输送粉尘、气体、烟气、煤气及其它气体的管道系统因温度变化、机械振动及基础下沉所引起的位移补偿。压力范围:≤0.05Mpa;温度范围:低温型≤200℃,高温型≤800℃;直径范围:任何尺寸。
矩形非金属膨胀节结构
矩形非金属补偿器 | 结构图 |
序号 | 名称 | 材质 | 序号 | 名称 | 材质 |
1 | 长接管 | 碳钢 | 7 | 填料 | 碳钢 |
2 | 环板 | 碳钢 | 8 | 钢丝网 | SS304 |
3&4 | 螺栓/螺母 | 碳钢 | 9 | 导流筒 | SS304 /碳钢 |
5 | 垫片 | 碳钢 | 10 | 压板 | 碳钢 |
6 | 圈带 | 橡胶复合材料 | 11 | 短接管 | 碳钢 |
矩形非金属补偿器技术参数
低温矩形非金属膨胀节
设计压力P = 0.049Mpa设计温度T = 200℃
管道截面积 | 补偿量 | 有效面积 | 法兰 | 总长度 | 宽度 | ||
㎡ | 轴向 | 横向 | c㎡ | 法兰高度 | 孔直径 | mm | mm |
0.8< aXb≤2.5 | 40 | 8 | (A + 20)(B + 20) | 100 | 28 | 400 | A + 400 |
80 | 11 | 500 | |||||
120 | 15 | 600 | |||||
2.5< aXb≤4.0 | 40 | 5 | (A + 20)(B + 20) | 100 | 28 | 400 | A + 400 |
80 | 8 | 500 | |||||
120 | 11 | 600 | |||||
4.0< aXb≤6.0 | 40 | 4 | (A + 30)(B + 30) | 100 | 36 | 500 | A + 500 |
80 | 6 | 600 | |||||
120 | 8 | 700 | |||||
6.0< aXb≤9.0 | 40 | 3 | (A + 30)(B + 30) | 100 | 36 | 500 | A + 500 |
80 | 4 | 600 | |||||
120 | 5 | 700 | |||||
低温矩形非金属膨胀节
设计压力P = 0.049Mpa设计温度T = 800℃
管道截面积 | 补偿量 | 有效面积 | 法兰 | 总长度 | 宽度 | ||
㎡ | 轴向 | 横向 | c㎡ | 法兰高度 | 孔直径 | mm | mm |
0.8< aXb≤2.5 | 40 | 8 | (A + 40)(B + 40) | 100 | 28 | 400 | A + 600 |
80 | 10 | 500 | |||||
120 | 12 | 600 | |||||
2.5< aXb≤4.0 | 40 | 5 | (A + 40)(B + 40) | 100 | 28 | 400 | A + 600 |
80 | 8 | 500 | |||||
120 | 10 | 600 | |||||
4.0< aXb≤6.0 | 40 | 4 | (A + 50)(B + 50) | 100 | 36 | 500 | A + 700 |
80 | 6 | 600 | |||||
120 | 8 | 700 | |||||
6.0< aXb≤9.0 | 40 | 3 | (A + 50)(B + 50) | 100 | 36 | 500 | A + 700 |
80 | 4 | 600 | |||||
120 | 5 | 700 | |||||
非金属矩形膨胀节的应用
·燃气轮机排气管道
·脱硫系统
·适用于各种行业的烟风道和排气系统
·燃煤锅炉,循环流化床锅炉以及燃油锅炉的烟风道